浅析热电偶各分度号的含义及常见故障处理分享
2023-04-04 云博(中国)
150 t/h超高压再热循环流化床锅炉事故处理
2023-03-29 云博(中国)
热控温度仪表的故障解析分享
2023-03-20 云博(中国)
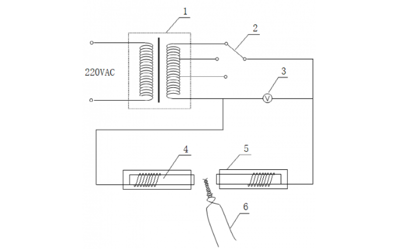
电机过热保护与绕组温度测量方法
2023-03-10 云博(中国)
化工装置开车DCS调试全过程知识分享
2023-02-28 云博(中国)
热电偶补偿原理知识分享
2023-02-06 云博(中国)
一种贵金属热电偶焊接装置
热电偶、电阻保护套泄露处理办法
2022-12-09 云博(中国)